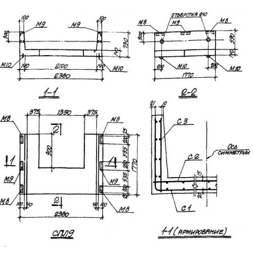
СПЛ 9

Чертеж изделия:
Характеристики изделия:
ПараметрЗначение
длина1770 мм
ширина2380 мм
высота730 мм
вес1680 кг
серияТП 905-7

СПЛ 9 Панели стеновые лоткового типа по проекту ТП 905-7.