ДП 2

Чертеж изделия:
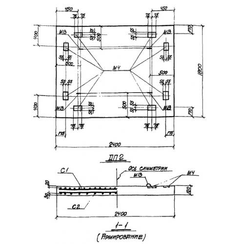
Характеристики изделия:
ПараметрЗначение
длина2400 мм
ширина1800 мм
высота120 мм
вес1300 кг
серияТП 905-7

ДП 2 Плиты днища прямоугольные по проекту ТП 905-7.