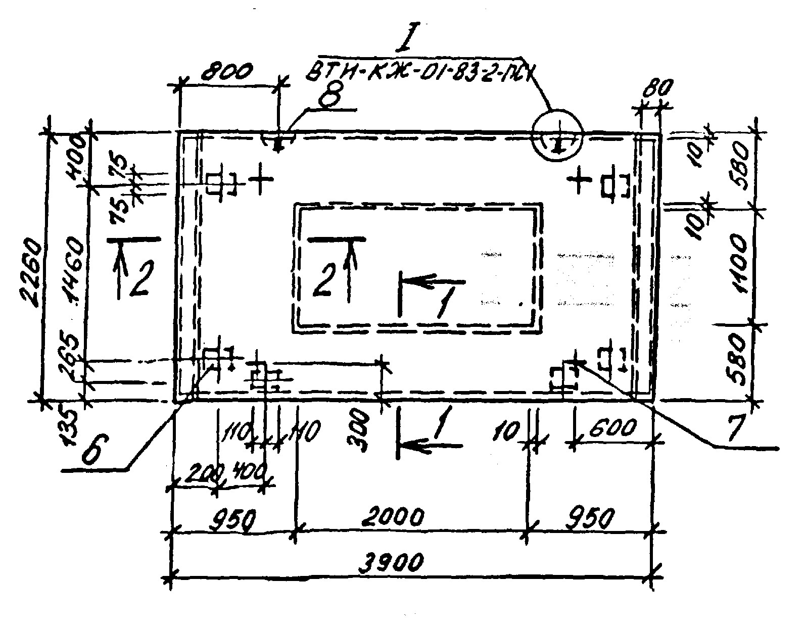
ПС 1А

Чертеж изделия:
Характеристики изделия:
ПараметрЗначение
Длина L3900 мм
Ширина В2260 мм
Высота Н180 мм
Вес3250 кг
СерияВТИ-КЖ-01-83
Норма погрузки на машину (20тн)6 шт
Вагонная норма погрузки-

Панель стеновая ПС 1А является составной частью теплофикационной камеры. Стеновые панели изготавливаются в соответствии с рабочими чертежами серии ВТИ-КЖ-01-83.