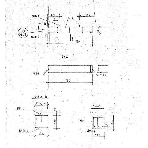
Б-8

Чертеж изделия:
Характеристики изделия:
ПараметрЗначение
длина2500 мм
ширина200 мм
высота280 мм
вес364 кг
серияТС 01-01

Б 8 Балки перекрытия по серии ТС 01-01.