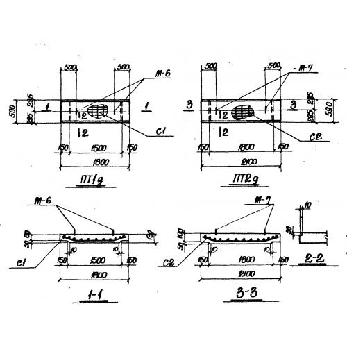
ПТ 2 д

Чертеж изделия:
Характеристики изделия:
ПараметрЗначение
длина2100 мм
ширина590 мм
высота130 мм
вес400 кг
серияИС 01-05

ПТ 2д Плиты перекрытия по серии ИС 01-05.