БВ 33-1

Чертеж изделия:
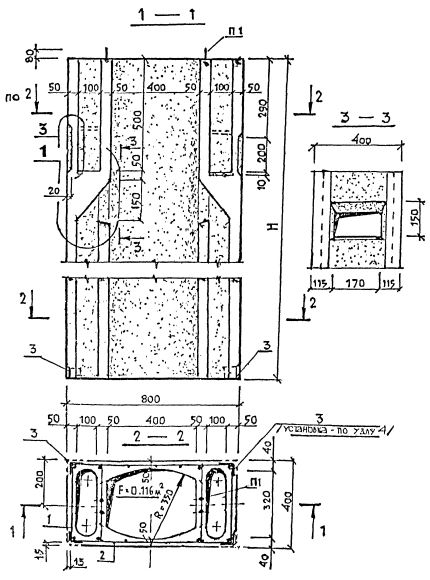
Характеристики изделия:
ПараметрЗначение
Длина L800 мм
Ширина В400 мм
Высота Н3280 мм
Вес1180 кг
СерияИИ 01-00
Норма погрузки на машину (20тн)17 шт
Вагонная норма погрузки-

Вентблоки БВ 33-1 изготавливается по рабочим чертежам альбома ИИ01-00, которые применяются при возведении жилых и общественных зданий, строящихся в обычных условиях.