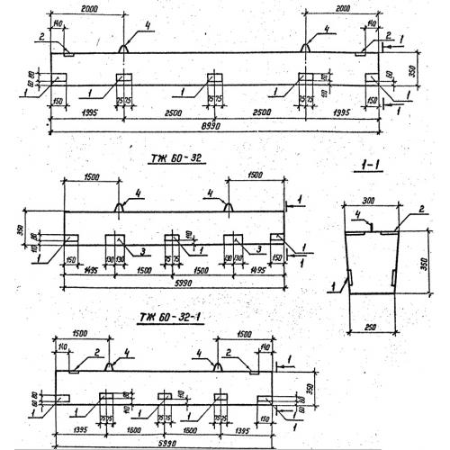
ТЖ 90-107 Траверсы трапецевидного сечения

Чертеж изделия:
Характеристики изделия:
ПараметрЗначение
длина8990 мм
ширина300 мм
высота350 мм
масса2180 кг
нормативный документСерия 3.407.1-157

ТЖ 90-107   Траверсы с предварительно напряженной арматурой постоянного трапецевидного сечения по Серии 3.407.1-157.