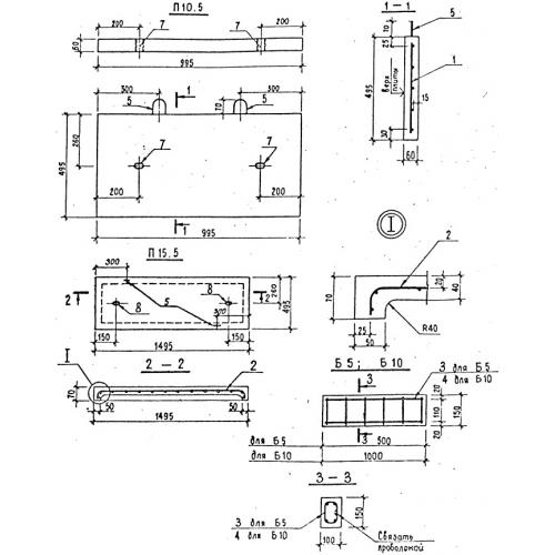
П 15.5 Плиты перекрытия лотков кабельных каналов

Чертеж изделия:
Характеристики изделия:
ПараметрЗначение
длина1495 мм
ширина495 мм
высота70 мм
масса88 кг
нормативный документСерия 3.407.1-157

П 15.5 Плиты перекрытия лотков кабельных каналов по Серии 3.407.1-157.