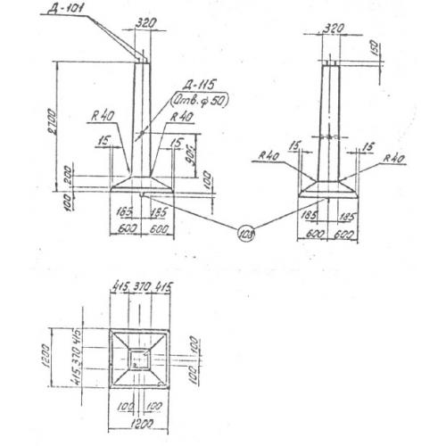
Ф 1 Фундаменты грибовидные подножники
Характеристики изделия:
| Параметр | Значение |
|---|---|
| длина | 1200 мм |
| ширина | 1200 мм |
| высота | 2700 мм |
| масса | 1480 кг |
| нормативный документ | Серия 3.407-115 |
Цена:
Рассчитать стоимостьФ 1 Фундаменты грибовидные подножники Серия 3.407-115.
