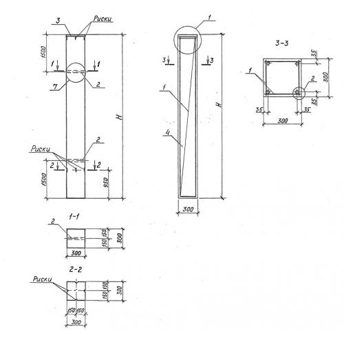
К 1 колонна сборная

Чертеж изделия:
Характеристики изделия:
ПараметрЗначение
длина5700 мм
ширина300 мм
высота300 мм
масса1300 кг
нормативный документСерия 3.015-1/92

К 1  Колонны сборные Серия 3.015-1/92.