Лу 33

Чертеж изделия:
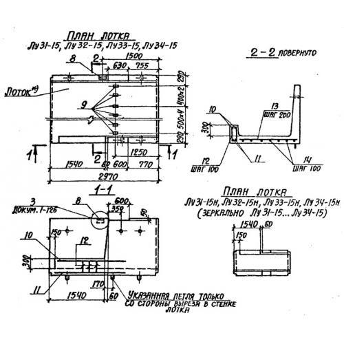
Характеристики изделия:
ПараметрЗначение
длина2970 мм
ширина3380 мм
высота1380 мм
масса1380 кг
нормативный документСерия 3.006.1-2/82

Лу 33  Лотки теплотрасс угловые Серия 3.006.1-2/82.