ПСД 30.18.30

Чертеж изделия:
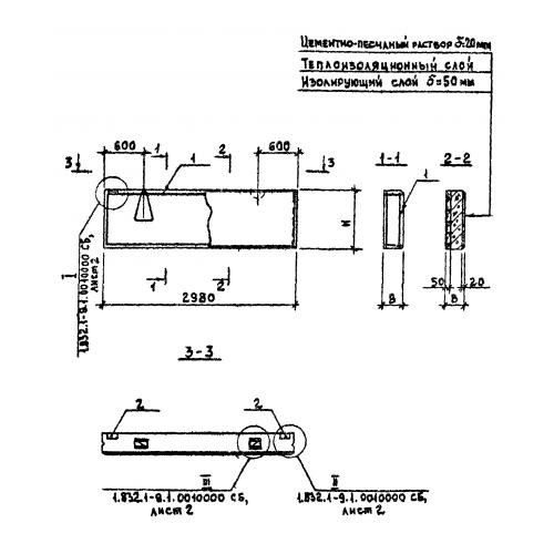
Характеристики изделия:
ПараметрЗначение
длина2980 мм
ширина300 мм
высота1780 мм
вес3100 кг
серия1.832.1-9

ПСД 30.18.30 Панели стеновые двухслойные по серии 1.832.1-9.