ПСД 24.30.50

Чертеж изделия:
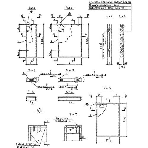
Характеристики изделия:
ПараметрЗначение
длина2380 мм
ширина500 мм
высота2980 мм
вес6700 кг
серия1.832.1-9

ПСД 24.30.50 Панели стеновые двухслойные по серии 1.832.1-9.