ПС 6.12.1

Чертеж изделия:
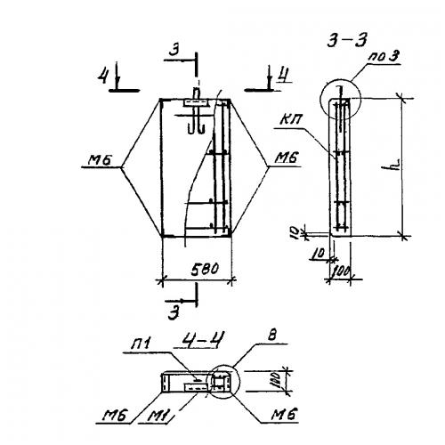
Характеристики изделия:
ПараметрЗначение
длина580 мм
ширина100 мм
высота1185 мм
вес180 кг
серия1.432.1-34.94

ПС 6.12.1 Панели стеновые по серии 1.432.1-34.94.