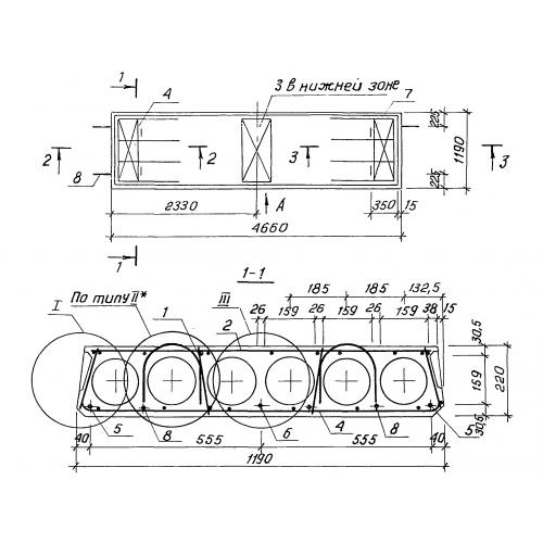
ПК 47.12

Чертеж изделия:
Характеристики изделия:
ПараметрЗначение
длина4660 мм
ширина1190 мм
высота220 мм
вес1650 кг
серия1.141.1-40с

ПК 47.12 Круглопустотные плиты перекрытия высотой 220 мм по серии 1.141.1-40с.