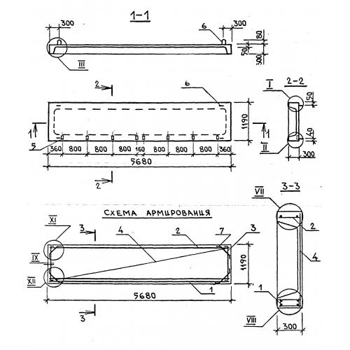
ПРЛ 57.12.3

Чертеж изделия:
Характеристики изделия:
ПараметрЗначение
длина5680 мм
ширина1190 мм
высота300 мм
вес2130 мм
серия1.137.1-6

ПРЛ 57.12.3 Плита лоджий ребристая.  Панели перекрытия лоджий по серии 1.137.1-6.