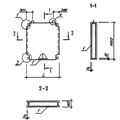
ПВЦ 18.19-3Т-ПВ

Чертеж изделия:
Характеристики изделия:
ПараметрЗначение
длина1700 мм
ширина160 мм
высота1865 мм
масса1190 кг
нормативный документСерия 1.090.1-3пв

Панели внутренних стен нулевого цикла для сборного варианта (Серия 1.090.1-3пв).

ПВЦ 18.19-3Т-ПВ   Панели внутренние нулевого цикла.

Марка содержит обозначение основных характеристик панели и состоит из буквенно-цифровых групп.

Группа букв означает название стеновой панели.

Группа цифр (записаны через точку) обозначает габариты панели (длина, высота) в дециметрах.

Вторая группа цифр обозначает прочностную характеристику.

3Т - вид бетона - бетон тяжелый М250.

ПВ - изделие предназначено для строительства зданий на просадочных грунтах и на подрабатываемых территориях.