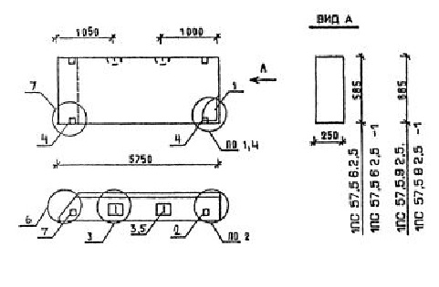
ПС 57.5.9.2.5 панели стеновые

Чертеж изделия:
Характеристики изделия:
ПараметрЗначение
длина5750 мм
ширина250 мм
высота885 мм
масса1850 кг
нормативный документСерия 1.030.1-1/88

ПС 57.5.9.2.5  Панели стеновые Серия 1.030.1-1/88.