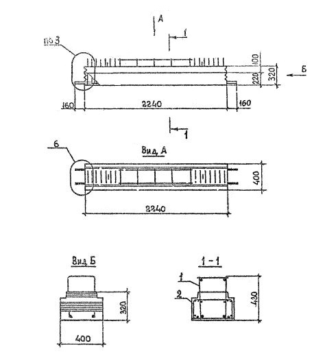
Р 4

Чертеж изделия:
Характеристики изделия:
ПараметрЗначение
длина2560 мм
ширина400 мм
высота430 мм
масса680 кг
нормативный документСерия 1.020.1-2с/89

Р 4  Ригели для одностороннего опирания плит  Серия 1.020.1-2с/89.