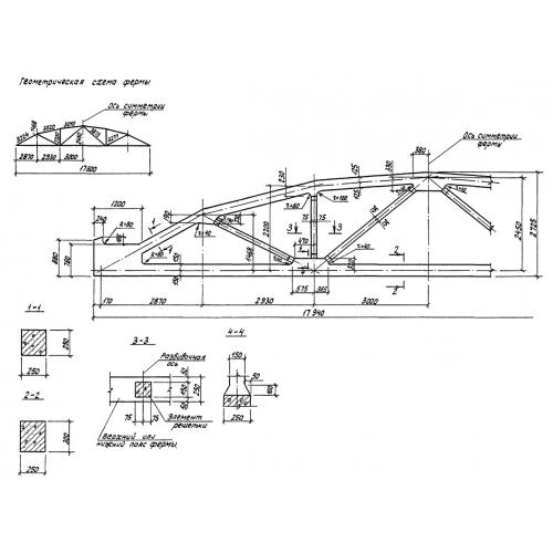
3ФС 18

Чертеж изделия:
Характеристики изделия:
ПараметрЗначение
длина17940 мм
ширина250 мм
высота2725 мм
масса7800 кг
нормативный документГОСТ 20213-89

3ФС 18  Фермы раскосные сегментные ГОСТ 20213-89.